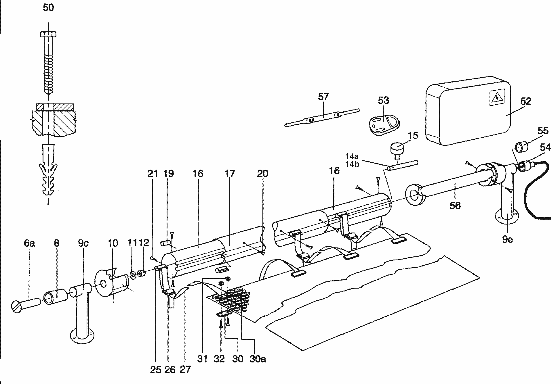
Nerez stojny navíjecího zařízení - pevné s elektrickým pohonem
Navíjecí zařízení; Barva: Nerez ; AISI 304; Krytí: IP 55; Možnost navíjení: Ano
| Cena s DPH: | 40 373,54 CZK / Ks |
| Cena bez DPH: | 33 366,56 CZK / Ks |
Skladem >5 Ks
